
圖式除了是設計專利申請取得申請日之必要文件,圖式所揭露的設計內容也是確定專利權範圍之核心文件。美國專利法施行細則(37 CFR)第1.84條規定,設計專利申請必須包含能充分且完整揭露請求設計外觀的足夠視圖(views)。如果圖式不明確、圖式不一致、或與說明書不一致,無法清楚且明確得知設計專利所請求的保護範圍,是否能據以實施,專利權範圍呢?這個很實際又很嚴肅的問題,我們從USPTO的申請及審查實務、訴願決定以及法院的判決中去探討。
※本文摘錄自[解析設計專利權利範圍之明確性與圖式不一致]
專利權保護範圍之揭露相關的法律規定
美國專利法(35 U.S.C.)第112條(a)款規定:說明書應包括發明的文字敘述及其製造、使用方法和程序的文字敘述,並應以完整、清晰、精簡及準確之用詞敘述,使得任何熟悉該項發明技術領域所屬技藝之人士、或與該項發明技術領域最具關聯的技術領域所屬技藝之人士,能夠製造和使用該項發明,且說明書應記載發明人所知之實施該所請求發明的最佳模式。(b)款規定:說明書應以單項或多項權利請求項,特別清楚指出申請人認為是其發明之主題標的。
USPTO的MPEP(Manual of Patent Examining Procedure, 專利審查程序手冊)第15章是設計專利的審查基準,第1504.04小節是關於專利法第112條規定的審查考量,其中說明,設計專利申請案,圖式經由使用請求項用語「如圖所示」的聲明來表示請求之設計,附圖也可經由說明書的敘述性說明進行補充。
專利保護範圍之充分揭露及據以實施要件
依美國專利法第112條的規定,在討論所請專利之標的是否滿足第112條(a)款專利要件之前,應先判定申請專利之標的是否滿足第112條(b)款的要件[1]。亦即,在決定申請專利之標的是否符合揭露要件之前,必須先決定想要保護的範圍,是否可據以實施。所揭示之圖式與說明書中任何可能窄化的敘述性說明都會被併入且限制專利權範圍,因為可被接受的申請專利範圍用語為「如圖式所示及所述者」。
銷售或使用期間可見的物品表面必須揭露
因為裝飾性設計可實施於非完整物品的構成元件,如果物品通常可視的部分或表面並未在圖式中顯現或在說明書中說明,則不構成請求設計之一部分[2]。通常,圖式中以實線揭露物品的表面或部分,應被認為是請求保護之設計的一部分,其形狀和外觀必須清楚和準確地描繪,才能滿足專利法第112條(a)款和(b)款之規定[3]。
只要有在銷售或使用期間可見的物品表面在圖式中揭露,即可符合專利法第112條(a)款和(b)款規定。圖式必須能展現設計,如同該設計展現在購買者及使用者面前,依設計法(design law)的規定,外觀是授與專利的唯一依據[4]。「授與專利的裝飾設計,除了其視覺外觀,並無其他作用…」[5]。製造設計的「視覺外觀」僅需再現圖式所揭露的設計,無需再現物品的功能性。
無法據以實施的情況
如果申請案的圖式並未揭露其他文字說明,初步推定,設計主張的專利範圍被限定在「如圖式所示」的表面證據[6]。必須參考所請求的範圍,才能判定所揭露的內容是否充分[7]。然而,圖式中以實線揭示物品的部份或表面,將被認為是請求設計之部分,為了能符合專利法之規定,該請求保護之外觀及形狀必須清楚且明確地被描述出來。
因圖式揭露不足而導致設計標的不明確而無法據以實施,應依專利法予以核駁,審查人員必須特別指明圖式揭露不足之處,並敘明所揭露的圖式品質不足以清楚且明確地揭露該設計,因而無法據以實施。審查人員應清楚指明,圖式中哪些部位不足以使人了解所申請之設計的形狀及外觀,可能的話,應建議如何修正。
當圖式中各視圖式之間不一致,且嚴重到以使該設計的整體外觀不明確,審查人員將予以核駁,並要求申請人修正[8]。假如原始申請文件中揭露的圖式揭露不足(如圖1所示),或品質太差而無法了解請求設計的整體形狀及外觀,將通知申請人圖式有致命且無法挽救的缺失(fatally defective)[9]。

圖式相關的法律規定
37 CFR第1.152條及其他對於設計圖式的相關規定
37 CFR第1.84條規定要求之代表圖式,必須包含足夠數量的視圖能完整的揭露請求設計之外觀。圖式中,可使用特有和適當的表面陰影,藉以呈現請求設計之特徵或外觀輪廓;除了用來表示色彩的對比外,整體黑色表面陰影是不可以使用的。斷(虛)線可用於呈現可視的環境構造,但不可使用在顯示無法穿透之不透明材料下所隱藏平面和表面。在設計專利的申請案中,不允許照片和墨線圖組合使用於同一申請案之正式圖式中;在設計專利申請案中,以照片取代墨線圖時,照片不能揭露環境構造,只能揭露該物品所請求的設計;設計專利的圖式中,不允許在同一張圖式中以虛線揭露其中一個設計零件可變更的位置(如圖2所示)。

各面視圖(Views)
為完整地揭示請求設計的整體外觀,可提出墨線繪製的圖式或黑白照片,其中必須包含足夠數量的視圖,例如:前視圖、後視圖、右側視圖、左側視圖、仰視圖及俯視圖。係屬物品形狀或外觀的立體空間設計者,則建議提出立體圖,得以清楚顯示三維空間型態的形狀或外觀。如果所提出的立體圖可以清楚明確地揭示請求設計的形狀或外觀,則可省略掉其他視圖。原則上,六面視圖都是正投影圖,只有一些特別的設計才會有例外,例如:電梯內部控制面板、飛機、巴士或汽車的內部設計(如圖3所示)。

假如其中一個視圖僅屬複製請求設計的其他視圖,或僅是光滑表面的視圖,只要能由說明書之內容就可清楚得知時,就得以省略掉。例如:設計的左側視圖和右側視圖是相同或是對映的鏡像時,只需提供其中一個視圖,並敘明「另一個視圖是相同或是對映的鏡像」即可。如果請求設計的仰視面是光滑表面,在圖式說明中敘明「該仰視面是未經裝飾的光滑表面」,即可省略;如果可看到的表面是具有結構而且明顯地不光滑者,就不得用「未經裝飾」的用詞來描述。在某些案件中,雖以物品的整體設計來主張設計專利,但該物品在正常使用情形下,無法看到該物品所有的視圖,這種情況下,可以不必揭示該物品的所有視圖。如有必要,允許提出請求設計的各個元件更清楚地分辨的剖面圖,但在剖面圖中揭露功能性的特徵或與該外觀設計無關的內部結構,則是不允許的。
以下就三個有關圖式不明確的主題:(1)單一視圖能否充分揭露請求設計保護之範圍;(2)怎麼樣的圖式是不清楚且不明確;(3)圖式之間的不一致是否影響請求設計保護範圍的明確性。舉出一些較有代表性的案例,再說明審查人員及PTAB各種不明確、不一致態樣的審查判斷。
單一視圖能否充分揭露請求設計保護之範圍
USD 722,748設計專利申請歷程
2006年6月,Dynasty鞋業公司提出「Shoe sole bottom」的設計專利申請案(如圖4左側所示),只有1張視圖。2008年5月,審查人員的先行核駁:「僅有單一視圖,審查人員無法了解圖式中所揭露之花紋設計的高度、深度或厚度,例如:X形、心形、橢圓形及交叉部分等,無法得知物品完整表面配置的構成與整體細部,無法了解所請求之設計」。申請人申復:MPEP第1504.04小節特別指明,請求設計所實施的物品之其他可視部位如果不在圖式中顯示,是因為該其他部位並不是請求設計想要保護的範圍。因此,本申請案中請求設計僅揭露鞋底單一的俯視圖,已足以揭露請求設計想要保護的範圍。
審查人員認為:設計專利請求保護的範圍或權利範圍包含:(1)請求項用語(Claim Language),(2)物品的性質或名稱,(3)圖式中以實線揭露的部分,(4)設計說明中任何明確的資格限制(qualifications identified)。專利權範圍必須小於或等於可實施的範圍。可據以實施的範圍,就是說明書中所揭露的範圍,所屬技藝領域中具有通常知識者無需藉助推測(without resorting to conjecture),即可理解的保護範圍。然而,本案僅揭露單一的平面圖,其保護範圍會有許多不同的解釋。

※詳細內容可參考[USD 722,748設計專利申請歷程]
不清楚且不明確的圖式
USD 708,922設計專利申請歷程(線條及凹陷程度不明確)
2010年11月,申請人Evans提出「工具打磨裝置[11]」申請案(如圖5所示),2011年4月,審查人員以不符專利法第112條第1款及第2款之規定先行核駁,其理由說明:申請人所提的圖式是一種線框圖(wireframe drawing),其中大部分的線條無法區別是輪廓線、接合處、銳利/硬的邊緣,或是線條細部、陰影或形狀的線條。線框技術對於機器和工程閱讀的解讀是有用的,但可能使人眼睛混亂,因為它使設計線條看起來更複雜。甚至,所有的線條都無法分辨,設計可能會被誤解。以目前所揭露的圖式,所屬技藝領域中具有通常知識者必須去猜想才能確定請求設計的正確外觀。審查人員以圖解的方式標示出圖式的各個視圖中無法分辨的線條及許多不明確之處(如圖6所示)。


※詳細內容可參考[USD 708,922設計專利申請歷程(線條及凹陷程度不明確)]
USD 761,861設計專利申請歷程(原始圖式中不明確的部分)
2009年3月,Poul Solbjerg提出「烤架(Grill)」設計專利申請案(如圖7所示),其中包含3個設計,因為審查人員要求分割而保留Fig.1及Fig.2的設計。2010年5月的非最終核駁理由說明:「圖式中包含3個不同的設計,應分割申請。申請人所提的照片是漆黑和模糊的。右側幾乎是漆黑的,頂部是模糊的,而照片顯示頂部表面是有紋理的,不是光滑的,從單一視圖是無法理解這表面具有紋理的明確外觀。圖式無法充分、清楚且明確的揭露請求設計,所屬技藝領域中具有通常知識者無法製造及使用該請求設計。」

※詳細內容可參考[USD 761,861設計專利申請歷程(原始圖式中不明確的部分)]
圖式之間的不一致的審查
USD 762,334設計專利申請歷程(虛線部分不一致)
2013年9月,HBI品牌服飾企業提出「襪子足弓」的設計專利申請案(如圖8左側所示),圖式中只有足弓部分是以實線繪製,襪子的形狀輪廓是以虛線呈現。2014年11月,審查人員在非最終核駁中圖解說明:Fig.1及Fig.2在襪子邊緣處以及足弓區域不一致,Fig.1顯示的足弓區域是半圓形的,而Fig.2顯示的足弓區域比較像是矩形且中央是拱起的,寬度也不一樣。因為圖式的不一致,專利權範圍會有許多不同的解釋,所屬技藝領域中具有通常知識者如果不猜測就無法使用該設計,而造成請求設計不明確且無法據以實施。

※詳細內容可參考[USD 762,334設計專利申請歷程(虛線部分不一致)]
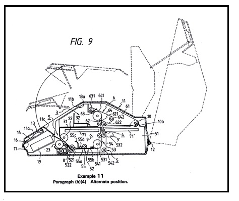
USD 646,749設計專利申請歷程(陰影線不正確、與表面不一致)
2009年2月,Tana工業公司提出「飲水機」的設計專利申請案(如圖9所示)。2010年12月,審查人員在非最終核駁理由中,說明圖式中多處不一致,立體圖中飲水機正面的表面看起來是有弧度的,而其他圖式中相對應區域的表面陰影卻是以直線呈現,兩者是不一致的,以致請求設計的外觀形狀、表面配置及細部修飾是不清楚也不明確的,因而無法據以實施,應予以核駁。另外,還製作詳細的圖解說明(如圖10所示)明確地指明圖式中的不一致之處,使得申請人容易了解,方能正確的修正圖式。理由清楚敘明並標示圖式中的錯誤:


※詳細內容可參考[USD 646,749設計專利申請歷程(陰影線不正確、不一致)]
USD 780,355設計專利申請歷程(照片不明確且不一致)
2013年11月,Light & Motion工業公司提出「Diver’s Light」的申請,圖式有9張照片。2015年4月,審查人員在非最終核駁中(如圖11所示)說明:許多灰色色調、明顯深色陰影,使得外觀的表面、邊緣及細部揭露不明確,而Fig.9燈頭後方的部分(以白色圓框圈選)並未在其他的視圖中揭露,無法得知其整體形狀、表面部分變化,Fig.1及Fig.2的表面不一致。因為圖式之揭露不明確且不一致,而使得請求設計不清楚也不明確,而無法據以實施。

※詳細內容可參考[USD 780,355設計專利申請歷程(照片不明確且不一致)]
結語
由前面的分析可得知,USPTO設計專利部門的審查人員對於圖式揭露的審查認定相當仔細且嚴謹,圖式是否充分且明確揭露,都必須要以每一申請案的事實來做判斷[12]。圖式之間整體外觀、輪廓、表面配置、線條及裝飾等的不明確,或不一致,視圖所揭露的線條不夠清晰,輪廓線、分割線與陰影線無法區別,甚至各個視圖的陰影線的不一致等都可能導致設計標的或保護範圍不明確,無法據以實施,而違反專利法第112條(a)款及(b)款規定。
我國專利法亦有明確性的規定,第126條規定:說明書及圖式應明確且充分揭露,使該設計所屬技藝領域中具有通常知識者,能瞭解其內容,並可據以實現。現在的設計千變萬化,設計專利圖式的明確性及一致性審查是很困難的,申請時,提交充分、明確且能據以實施的圖式及說明書是申請人的責任與義務。然而,許多申請人卻不以為然,同一設計在我國提出的圖式與美國、日本就不一樣(如圖12所示),或是提出不一致,或無法對應或比對之圖式(如圖13所示),如果申請期間未能予以修正,核准公告後幾乎不能更正,至於將來在侵權訴訟或是專利無效舉發中,專利權範圍是否明確,是否能據以實施,專利權人只能自求多福了。


備註:
【本文僅反映專家作者意見,不代表本報立場。】
|
















